Каталог товаров

Basic ejectors - K-GRUNDEJEKTION SBP

нет в наличии
код: 678843065
1,00 грн. /шт
з 3 отзывов, 100% положительных
Регион: Украина, Киевская обл., Киев
Написать продавцу
Описание товара
Свойства

Свойства

Vacuum generator without control valves or system monitoring functions, with a high maximum vacuum value (85%)
No moving parts, which means no wear and no maintenance
Maximum suction capacity with minimum compressed air consumption
Minimum size, low weight
For decentralised vacuum generation in highly dynamic processes

Применение

For universal use in lightweight gripper systems
to handle air-tight workpieces as well as for automatic separation systems,
e.g. in the plastics, electronics and packaging industries.
Also ideal for the construction of ejector blocks for decentralised control of suction pads.

Корпус

Plastic (impact-resistant)

Соединение

Push-in coupling

Глушитель

Plastic

Рабочее давление

4.5 bar

Степень разрежения

85 %


Описание

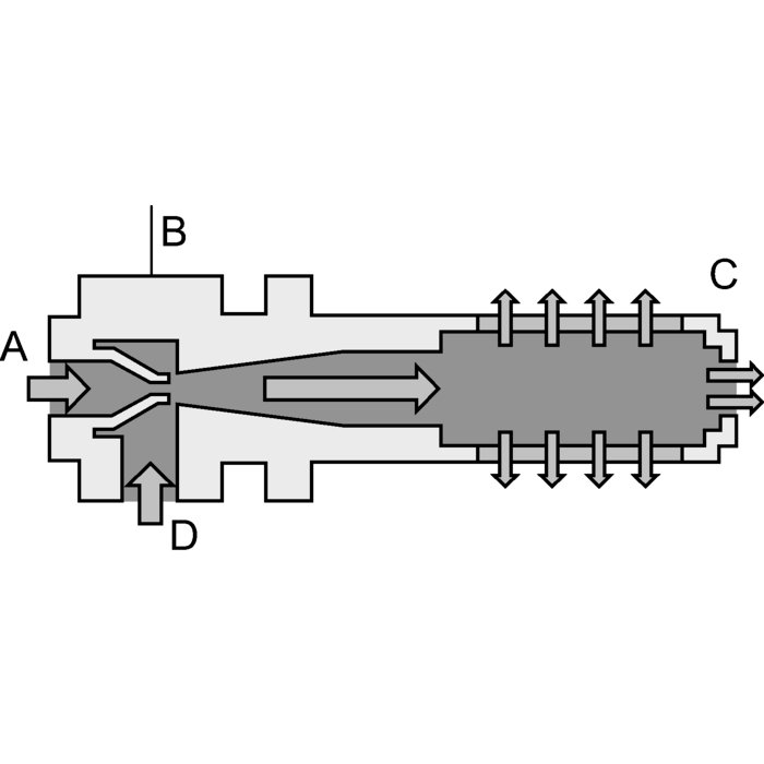
Purely pneumatic vacuum ejector that operates on the Venturi principle. Compressed air enters the ejector at A and flows through the nozzle B. This results in a vacuum immediately behind the nozzle outlet, and air is drawn in through the vacuum inlet D. This air and the driving air leave the ejector via the silencer C.


Изделие
Наименование Степень разрежения
%
Размер форсунки Вакуумное соединение Подключение системы сжатого воздуха Расход воздуха при всасывании
l/min
макс. скорость откачки
l/min
Размер
K- 07 45 01 13 85 01 4 mm 4 mm 14.0 8.0 71mm x 10mm x 28mm
K- 07 45 01 14 85 01 4 mm 4 mm 22.0 16.0 71mm x 10mm x 28mm
K- 07 45 01 15 85 01 8 mm 6 mm 48.0 37.7 97mm x 15mm x 40mm
K- 07 45 01 16 85 02 8 mm 6 mm 105.0 71.0 97mm x 15mm x 40mm
K- 07 45 01 17 85 02 10 mm 8 mm 197.0 127.0 168mm x 20mm x 46mm
K- 07 45 01 18 85 03 10 mm 8 mm 311.0 215.0 168mm x 20mm x 46mm
читать дальше свернуть
Отзывы
3 отзывов
100% положительных
Oleg
16 июля 2020г. в 16:36
Крутые ребята! Работают очень оперативно!
Александр
13 июля 2020г. в 12:22
читать дальше свернуть
Варианты оплаты

Безналичный расчёт

Предоплата

Варианты доставки

Новая Почта

Самовывоз

Интайм

Гюнсел

читать дальше свернуть
Покупатели этого товара также интересовались

Вы просматривали

Сейчас ищут

Спецрахунок НБУ
Фонд "Повернись живим"
Фонд Сергія Притули
Пока не зарегистрированы?
Регистрация
Уже зарегистрированы? Войти
Уже зарегистрированы? Войти