Каталог товаров

Mini-compact ejectors - K-KOMPAKTEJEKTOREN MINI

нет в наличии
код: 678843149
1,00 грн. /шт
з 3 отзывов, 100% положительных
Регион: Украина, Киевская обл., Киев
Написать продавцу
Описание товара
Свойства

Свойства

Vacuum generator with integrated control valves and system monitoring functions
Gripping and blowing off can be controlled without the need for external valves
Optimised air consumption thanks to many models with differing suction capacities
Minimum energy costs in continuous operation
Easy adjustment with foil keypad and LED display of the settings
Minimum size, low weight
Optimum vacuum generation directly on the suction pad
Complete solution for very simple installation
Short learning curve thanks to "teach" function
No need for additional sensors
Easily visible status indication

Применение

Ideal where space is restricted and for highly dynamic movements, handling with industrial robots, linear axes
pick-and-place systems

Степень разрежения

85 %

Основные части

Anodised aluminium

Встроенный

NC blow-off valve, filter, silencer, non-return valve


Описание

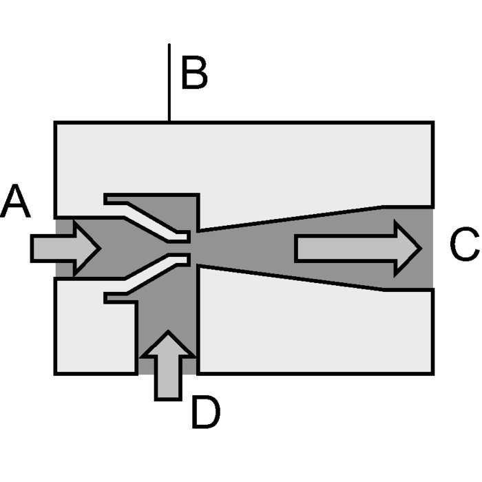
Purely pneumatic vacuum generator that operates on the Venturi principle. Compressed air enters the ejector at A and flows through the nozzle B. This results in a vacuum immediately behind the nozzle outlet, and air is drawn in through the vacuum inlet D. This air and the driving air leave the ejector via the silencer C.


Изделие
Наименование Степень разрежения
%
Размер форсунки Состояние покоя всасывающего клапана Вакуумное соединение Подключение системы сжатого воздуха Расход воздуха при всасывании
l/min
макс. скорость откачки
l/min
Рабочее давление
bar
Размер
K- 07 45 01 46 85 01 NC M5 female M 5 IG 46.0 23.0 4.5 65mm x 10mm x 107mm
K- 07 45 01 45 85 01 NO M5 female M 5 IG 46.0 23.0 4.5 65mm x 10mm x 107mm
читать дальше свернуть
Отзывы
3 отзывов
100% положительных
Oleg
16 июля 2020г. в 16:36
Крутые ребята! Работают очень оперативно!
Александр
13 июля 2020г. в 12:22
читать дальше свернуть
Варианты оплаты

Безналичный расчёт

Предоплата

Варианты доставки

Новая Почта

Самовывоз

Интайм

Гюнсел

читать дальше свернуть
Покупатели этого товара также интересовались

Вы просматривали

Сейчас ищут

Спецрахунок НБУ
Фонд "Повернись живим"
Фонд Сергія Притули
Пока не зарегистрированы?
Регистрация
Уже зарегистрированы? Войти
Уже зарегистрированы? Войти