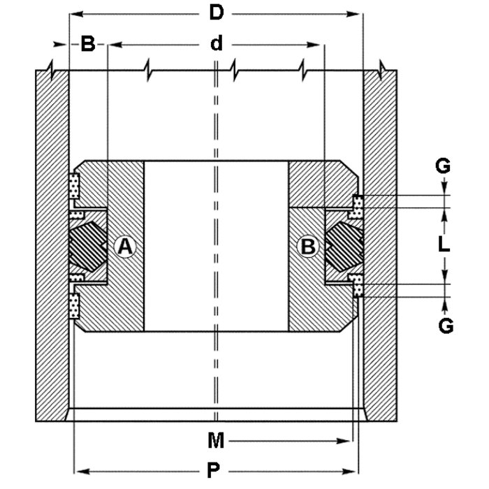
Модель
Комплект поршневых уплотнительных прокладок
Рабочее давление
до 300 бар
Скорость скольжения макс.
0.5 m/s
Температура min.
-30 °C
Температура макс.
110 °C
Монтаж
на моноблочных поршнях А
на многоблочных поршнях В
Рабочие среды
Минеральное масло
Водные эмульсии
Материал
(2) направляющее кольцо: Полиформальдегид
(1) уплотнение: Нитрильный каучук
(3) опорное кольцо: Полиэфир
Применение
Гидравлика
Очень хорошая герметичность при низком давлении.
простой монтаж.
Простое решение.
| Наименование | D mm |
d nom. mm |
L mm |
G mm |
M mm |
P mm |
пазы в соответствие с |
|---|---|---|---|---|---|---|---|
| DBM 078 043-M | 20.00 | 11.00 | 13.50 | 2.10 | 17.00 | 19.00 | - |
| DBM 086 051-M | 22.00 | 13.00 | 13.50 | 2.10 | 19.00 | 21.00 | - |
| DBM 098 059-1 | 25.00 | 15.00 | 12.50 | 4.00 | 21.00 | 23.00 | - |
| DBM 098 059-2 | 25.00 | 15.00 | 12.50 | 4.00 | 22.00 | 24.00 | ISO 5597 |
| DBM 098 059 | 25.00 | 15.00 | 16.40 | 6.35 | 21.45 | 23.50 | - |
| DBM 098 063-M | 25.00 | 16.00 | 13.50 | 2.10 | 22.00 | 24.00 | - |
| DBM 098 066-SI | 25.00 | 17.00 | 13.50 | 3.20 | 21.00 | 24.40 | - |
| DBM 110 074-M | 28.00 | 19.00 | 13.50 | 2.10 | 25.00 | 27.00 | - |
| DBM 118 083-M | 30.00 | 21.00 | 13.50 | 2.10 | 27.00 | 29.00 | - |
| DBM 125 086-ISO | 32.00 | 22.00 | 12.50 | 4.00 | 29.00 | 31.00 | ISO 5597 |
| DBM 125 086-M | 32.00 | 22.00 | 15.50 | 2.60 | 28.00 | 31.00 | - |
| DBM 125 086 | 32.00 | 22.00 | 16.40 | 6.35 | 28.50 | 30.50 | - |
| DBM 125 094-ISO | 32.00 | 24.00 | 10.00 | 4.00 | 29.00 | 31.00 | ISO 5597 |
| DBM 125 094-SI | 32.00 | 24.00 | 15.50 | 3.20 | 28.00 | 31.40 | - |
| DBM 137 098-M | 35.00 | 25.00 | 15.50 | 2.60 | 31.00 | 34.00 | - |
| DBM 137 098 | 35.00 | 25.00 | 16.40 | 6.35 | 31.40 | 33.50 | - |
| DBM 137 106-SI | 35.00 | 27.00 | 15.50 | 3.20 | 31.00 | 34.40 | - |
| DBM 157 102-M | 40.00 | 26.00 | 15.50 | 2.60 | 36.00 | 39.00 | - |
| DBM 157 118-1 | 40.00 | 30.00 | 12.50 | 4.00 | 36.00 | 38.00 | - |
| DBM 157 118-2 | 40.00 | 30.00 | 12.50 | 4.00 | 37.00 | 39.00 | ISO 5597 |
| DBM 157 125-ISO | 40.00 | 32.00 | 10.00 | 4.00 | 37.00 | 39.00 | ISO 5597 |
| DBM 157 125-SI | 40.00 | 32.00 | 15.50 | 3.20 | 36.00 | 39.40 | - |
| DBM 165 110-M | 42.00 | 28.00 | 15.50 | 2.60 | 38.00 | 41.00 | - |
| DBM 175 112 | 44.45 | 28.57 | 19.05 | 6.35 | 39.87 | 43.12 | - |
| DBM 177 114 | 45.00 | 29.00 | 18.40 | 6.35 | 40.40 | 43.50 | - |
| DBM 177 122-M | 45.00 | 31.00 | 15.50 | 2.60 | 41.00 | 44.00 | - |
| DBM 177 137 | 45.00 | 35.00 | 16.40 | 6.35 | 40.40 | 43.50 | - |
| DBM 196 133-M | 50.00 | 34.00 | 20.50 | 3.10 | 46.00 | 49.00 | - |
| DBM 196 137-ISO | 50.00 | 35.00 | 20.00 | 5.00 | 46.00 | 48.50 | ISO 5597 |
| DBM 196 149-SI | 50.00 | 38.00 | 20.50 | 4.20 | 46.00 | 49.40 | - |
| DBM 196 157-ISO | 50.00 | 40.00 | 12.50 | 4.00 | 47.00 | 49.00 | ISO 5597 |
| DBM 200 137 | 50.80 | 34.92 | 19.05 | 6.35 | 46.23 | 49.48 | - |
| DBM 200 162 | 50.80 | 41.27 | 11.10 | 3.81 | 46.27 | 49.19 | - |
| DBM 212 150 | 53.97 | 38.10 | 19.05 | 6.35 | 49.40 | 52.70 | - |
| DBM 216 153 | 55.00 | 39.00 | 18.40 | 6.35 | 50.37 | 53.65 | - |
| DBM 216 153-M | 55.00 | 39.00 | 20.50 | 3.10 | 51.00 | 54.00 | - |
| DBM 216 177-ISO | 55.00 | 45.00 | 12.50 | 4.00 | 52.00 | 54.00 | ISO 5597 |
| DBM 220 157-M | 56.00 | 40.00 | 20.50 | 3.10 | 52.00 | 55.00 | - |
| DBM 236 173-M | 60.00 | 44.00 | 20.50 | 3.10 | 56.00 | 59.00 | - |
| DBM 236 188-SI | 60.00 | 48.00 | 20.50 | 4.20 | 56.00 | 59.40 | - |
| DBM 237 175 | 60.32 | 44.45 | 19.05 | 6.35 | 55.73 | 59.98 | - |
| DBM 248 185-2 | 63.00 | 47.00 | 19.40 | 6.35 | 58.40 | 61.50 | - |
| DBM 248 185-M | 63.00 | 47.00 | 20.50 | 3.10 | 59.00 | 62.00 | - |
| DBM 248 188ISO | 63.00 | 48.00 | 20.00 | 5.00 | 59.00 | 61.50 | ISO 5597 |
| DBM 248 188-ISO | 63.00 | 48.00 | 20.00 | 5.00 | 59.00 | 61.50 | ISO 5597 |
| DBM 248 201-SI | 63.00 | 51.00 | 20.50 | 4.20 | 59.00 | 62.40 | - |
| DBM 248 208-ISO | 63.00 | 53.00 | 12.50 | 4.00 | 60.00 | 62.00 | ISO 5597 |
| DBM 250 187 | 63.50 | 47.62 | 19.05 | 6.35 | 58.90 | 62.12 | - |
| DBM 250 212 | 63.50 | 53.97 | 11.10 | 3.80 | 59.00 | 62.12 | - |
| DBM 255 192-M | 65.00 | 49.00 | 20.50 | 4.10 | 61.00 | 64.00 | - |
| DBM 255 196 | 65.00 | 50.00 | 18.40 | 6.35 | 60.41 | 63.64 | - |
| DBM 262 200 | 66.67 | 50.80 | 19.05 | 6.35 | 62.10 | 65.27 | - |
| DBM 275 212-M | 70.00 | 54.00 | 20.50 | 3.10 | 66.00 | 69.00 | - |
| DBM 275 216-ISO | 70.00 | 55.00 | 20.00 | 5.00 | 66.00 | 68.50 | ISO 5597 |
| DBM 275 228-SI | 70.00 | 58.00 | 20.50 | 4.20 | 66.00 | 69.40 | - |
| DBM 295 216 | 75.00 | 55.00 | 22.40 | 6.35 | 69.18 | 73.32 | - |
| DBM 295 232-M | 75.00 | 59.00 | 20.50 | 3.10 | 71.00 | 74.00 | - |
| DBM 300 225 | 76.20 | 57.15 | 23.80 | 6.35 | 70.40 | 74.50 | - |
| DBM 314 236-ISO | 80.00 | 60.00 | 25.00 | 6.30 | 75.00 | 78.00 | ISO 5597 |
| DBM 314 244-M | 80.00 | 62.00 | 22.50 | 3.60 | 76.00 | 79.00 | - |
| DBM 314 255-ISO | 80.00 | 65.00 | 20.00 | 5.00 | 76.00 | 78.50 | ISO 5597 |
| DBM 314 259-SI | 80.00 | 66.00 | 22.50 | 5.20 | 76.00 | 79.40 | - |
| DBM 334 255 | 85.00 | 65.00 | 22.40 | 6.35 | 79.16 | 83.34 | - |
| DBM 350 275 | 88.90 | 69.85 | 23.80 | 6.35 | 83.08 | 87.22 | - |
| DBM 354 283-M | 90.00 | 72.00 | 22.50 | 3.60 | 86.00 | 89.00 | - |
| DBM 354 295-ISO | 90.00 | 75.00 | 20.00 | 5.00 | 86.00 | 88.50 | ISO 5597 |
| DBM 354 299-SI | 90.00 | 76.00 | 22.50 | 5.20 | 86.00 | 89.40 | - |
| DBM 374 295 | 95.00 | 75.00 | 22.40 | 6.35 | 89.15 | 93.31 | - |
| DBM 393 314-ISO | 100.00 | 80.00 | 25.00 | 6.30 | 95.00 | 98.00 | ISO 5597 |
| DBM 393 314 | 100.00 | 80.00 | 25.40 | 6.35 | 94.15 | 98.31 | - |
| DBM 393 332-M | 100.00 | 82.00 | 22.50 | 3.60 | 96.00 | 99.00 | - |
| DBM 393 334-ISO | 100.00 | 85.00 | 20.00 | 5.00 | 96.00 | 98.50 | ISO 5597 |
| DBM 393 339-SI | 100.00 | 86.00 | 22.50 | 5.20 | 96.00 | 99.40 | - |
| DBM 400 325 | 101.60 | 82.55 | 24.21 | 6.35 | 95.76 | 99.90 | - |
| DBM 413 314 | 105.00 | 80.00 | 22.40 | 6.35 | 98.09 | 103.03 | - |
| DBM 433 334-1 | 110.00 | 85.00 | 25.40 | 6.35 | 103.10 | 108.00 | - |
| DBM 433 362-M | 110.00 | 92.00 | 22.50 | 3.60 | 106.00 | 109.00 | - |
| DBM 433 374-ISO | 110.00 | 95.00 | 20.00 | 5.00 | 105.00 | 108.00 | ISO 5597 |
| DBM 433 378-SI | 110.00 | 96.00 | 22.50 | 5.20 | 106.00 | 109.40 | - |
| DBM 452 354 | 115.00 | 90.00 | 22.40 | 6.35 | 108.10 | 113.02 | - |
| DBM 452 381-M | 115.00 | 97.00 | 22.50 | 3.60 | 111.00 | 114.00 | - |
| DBM 472 417-SI | 120.00 | 106.00 | 22.50 | 5.20 | 116.00 | 119.40 | - |
| DBM 492 393-ISO | 125.00 | 100.00 | 32.00 | 10.00 | 119.00 | 123.00 | ISO 5597 |
| DBM 492 405-M | 125.00 | 103.00 | 26.50 | 5.10 | 121.00 | 124.00 | - |
| DBM 492 413-ISO | 125.00 | 105.00 | 25.00 | 6.30 | 120.00 | 123.00 | ISO 5597 |
| DBM 492 413 | 125.00 | 105.00 | 25.00 | 6.35 | 119.10 | 123.30 | - |
| DBM 492 425-SI | 125.00 | 108.00 | 26.50 | 7.20 | 121.00 | 124.40 | - |
| DBM 511 413-1 | 130.00 | 105.00 | 25.40 | 6.35 | 123.10 | 128.00 | - |
| DBM 531 433 | 135.00 | 110.00 | 25.40 | 9.52 | 127.60 | 132.50 | - |
| DBM 531 433-1 | 135.00 | 110.00 | 25.40 | 6.35 | 128.10 | 133.00 | - |
| DBM 551 452-1 | 140.00 | 115.00 | 25.40 | 6.35 | 133.00 | 138.00 | - |
| DBM 551 464-M | 140.00 | 118.00 | 26.50 | 5.10 | 136.00 | 139.00 | - |
| DBM 551 472-ISO | 140.00 | 120.00 | 25.00 | 6.30 | 135.00 | 138.00 | ISO 5597 |
| DBM 551 484-SI | 140.00 | 123.00 | 26.50 | 7.20 | 136.00 | 139.40 | - |
| DBM 570 472 | 145.00 | 120.00 | 25.40 | 9.52 | 137.60 | 142.50 | - |
| DBM 570 472-1 | 145.00 | 120.00 | 25.40 | 6.35 | 138.30 | 142.95 | - |
| DBM 590 492-1 | 150.00 | 125.00 | 25.40 | 6.35 | 143.00 | 148.00 | - |
| DBM 590 503-M | 150.00 | 128.00 | 26.50 | 5.10 | 146.00 | 149.00 | - |
| DBM 590 523-SI | 150.00 | 133.00 | 26.50 | 7.20 | 146.00 | 149.40 | - |
| DBM 600 500 | 152.40 | 127.00 | 31.75 | 9.52 | 145.00 | 149.91 | - |
| DBM 610 511 | 155.00 | 130.00 | 25.40 | 9.52 | 147.60 | 152.50 | - |
| DBM 610 511-1 | 155.00 | 130.00 | 25.40 | 6.35 | 148.00 | 153.00 | - |
| DBM 629 511 | 160.00 | 130.00 | 25.40 | 9.52 | 152.60 | 157.50 | - |
| DBM 629 511-1 | 160.00 | 130.00 | 25.40 | 6.35 | 153.00 | 157.50 | - |
| DBM 629 531-ISO | 160.00 | 135.00 | 32.00 | 10.00 | 154.00 | 158.00 | ISO 5597 |
| DBM 629 543-M | 160.00 | 138.00 | 26.50 | 5.10 | 156.00 | 159.00 | - |
| DBM 629 551-ISO | 160.00 | 140.00 | 25.00 | 6.30 | 155.00 | 158.00 | ISO 5597 |
| DBM 629 563-SI | 160.00 | 143.00 | 26.50 | 7.20 | 156.00 | 159.40 | - |
| DBM 649 551 | 165.00 | 140.00 | 25.40 | 9.52 | 157.60 | 162.50 | - |
| DBM 669 570 | 170.00 | 145.00 | 25.40 | 12.70 | 161.72 | 167.10 | - |
| DBM 669 582-M | 170.00 | 148.00 | 26.50 | 5.10 | 166.00 | 169.00 | - |
| DBM 688 590 | 175.00 | 150.00 | 25.40 | 12.70 | 166.72 | 172.10 | - |
| DBM 708 590-1 | 180.00 | 150.00 | 35.40 | 6.35 | 172.95 | 177.87 | - |
| DBM 708 621-M | 180.00 | 158.00 | 26.50 | 5.10 | 176.00 | 179.00 | - |
| DBM 728 629 | 185.00 | 160.00 | 25.40 | 12.70 | 176.72 | 182.10 | - |
| DBM 748 649 | 190.00 | 165.00 | 25.40 | 12.70 | 181.72 | 187.05 | - |
| DBM 767 669 | 195.00 | 170.00 | 25.40 | 12.70 | 186.72 | 192.05 | - |
| DBM 787 669-1 | 200.00 | 170.00 | 35.40 | 6.35 | 192.96 | 197.84 | - |
| DBM 787 669-ISO | 200.00 | 170.00 | 36.00 | 12.50 | 192.00 | 197.00 | ISO 5597 |
| DBM 787 688-M | 200.00 | 175.00 | 31.50 | 6.60 | 196.00 | 199.00 | - |
| DBM 787 708-SI | 200.00 | 180.00 | 31.50 | 9.20 | 196.00 | 199.40 | - |
| DBM 826 728 | 210.00 | 185.00 | 25.40 | 12.70 | 201.62 | 207.00 | - |
| DBM 866 748 | 220.00 | 190.00 | 35.40 | 6.35 | 212.70 | 217.90 | - |
| DBM 905 807 | 230.00 | 205.00 | 25.40 | 12.70 | 221.62 | 227.00 | - |
| DBM 944 846 | 240.00 | 215.00 | 25.40 | 12.70 | 231.62 | 237.00 | - |
| DBM 984 866 | 250.00 | 220.00 | 35.40 | 6.35 | 242.90 | 247.85 | - |
| DBM 984 886 | 250.00 | 225.00 | 25.40 | 12.70 | 241.62 | 247.00 | - |
Безналичный расчёт
Предоплата
Новая Почта
Самовывоз
Интайм
Гюнсел