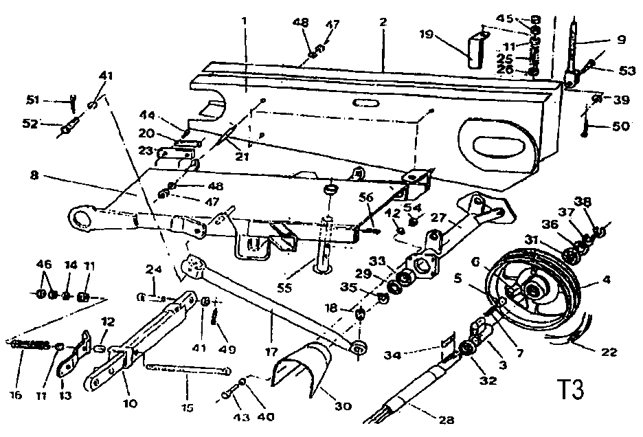
Корпус тріскачки голий, кований валик 8245-105-020-172 встановлюється на великий шків і є частиною муфти обгінної роторної косарки.
Відправляємо по Україні
ПОЗИЦІЯ 3

Наложенный платеж
Предоплата
Новая Почта(отделение)
Новая Почта(курьер)